ams TCS3200 Color Sensor

Discontinued
×
Discontinued

品目

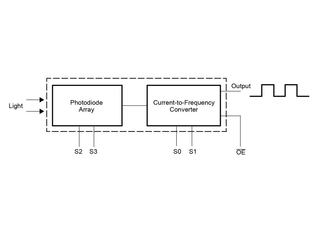
The TCS3200 programmable color light-to-frequency converter combines configurable silicon photodiodes and a current-to-frequency converter on a single monolithic CMOS integrated circuit. The output is a square wave (50% duty cycle) with frequency directly proportional to light intensity (irradiance). The TCS3200 reads an 8x8 array of photodiodes.

詳細

特徴

  • Programmable color light-to-frequency converter
  • Output Enable (OE) pin
  • Output frequency scaling
  • Available in 5mm x 6.2mm SOIC (D) package

利点

  • Enables high-resolution conversion of light intensity to frequency
  • Disables the output into a Hi-Impedance state when OE input pin is Low
  • Enables output range to be optimized for a variety of low-cost measurement techniques
  • Reduces board space requirements while simplifying designs

パラメーター

Function
color sensing
Supply voltage
典型
5.0 V
最小
2.7 V
最大
5.5 V
Interface
input
Digital frequency output
output
Digital frequency output
Operating ambient temperature
最小
-40 °C
最大
70 °C
Integrated diffuser
No
Package
D
Package dimension
l 典型
5.3 mm
w 典型
6.2 mm
h 典型
1.75 mm
Input/Output Voltage
Digital frequency output

ダウンロード