ams CMV300

Discontinued
×
Discontinued

Description

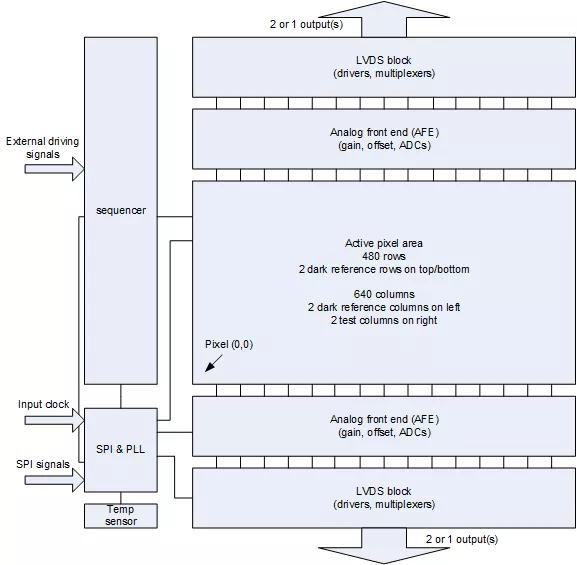
The CMV300 is a high speed CMOS image sensor with 640 by 480 pixels (1/3" optical format) developed for machine vision applications. The image array consists of 7.4μm x 7.4μm pipelined global shutter pixels allowing exposure during read out and CDS operation. The user can choose between four digital LVDS serial outputs of 12 bits each, or one 10-bit parallel CMOS output. The image sensor integrates a programmable gain amplifier and offset regulation. Each LVDS channel runs at 480 Mbps maximum resultsing in 480 fps maximum at full resolution. Higher frame rates can be achieved in row-windowing or row-subsampling mode. All modes are programmable using the SPI interface. All internal exposure triggers, read-out timings and high speed clocks are generated by a programmable on-board sequencer and PLL. External triggering and exposure programming is also possible. Extended optical dynamic range can be achieved by multiple integrated high dynamic range modes.

For compatible sockets from Andon Electronics visit http://www.andonelect.com/secure/ImagesClientUpload/crossreferences/image_sensor/ams_(cmosis).pdf

Details

Features

  • Global shutter
  • High speed (480fps)

Benefits

  • Freeze moving objects
  • Track moving objects accurately and high inspection rate

Parameters

Resolution
0.3 MP
Shutter type
Global
Frame rate
max.
480 fps
Optical format
1/3"
Dynamic range
60 dB
Pixel pitch
7.4 µm
7.4 µm
Function
area scan
CRA
No
Package
BGA
Package dimension
h
0.72 mm
l
6.87 mm
w
6.87 mm
Cover glass
Plain
CFA option
Mono
RGB
ADC mode
12 bit
Channels
output
4
Interface
output
Low-voltage differential signaling
Output interface speed
480 Mbps

Downloads